今天為大家介紹的是——高效污泥濃縮機
高效工作的污泥濃縮機,其結構包括中心支座、工作橋、系統控制柜、驅動系統、攤渣機構、出渣管、擋渣板、污泥池、出泥口、進水口、溢流板、穩流筒、支架板、濃縮攪拌柵條、椼架、刮泥板,所述中心支座底部設有所述污泥池,所述污泥池連接著所述出泥口,所述污泥池左右兩邊的分支連接著所述溢流板,所述污泥池連接著所述刮泥板,所述刮泥板連接著所述擋渣板,所述擋渣板設有所述濃縮攪拌柵條,所述濃縮攪拌柵條左右兩邊連接著所述椼架,所述椼架連接著所述支架板,所述支架板連接著所述工作橋。本實用新型的有益效果沉淀絮凝效果好,污泥濃縮時間短,適應于活性污泥和氣浮污泥及其混合液,對污水的含水情況適應性強。

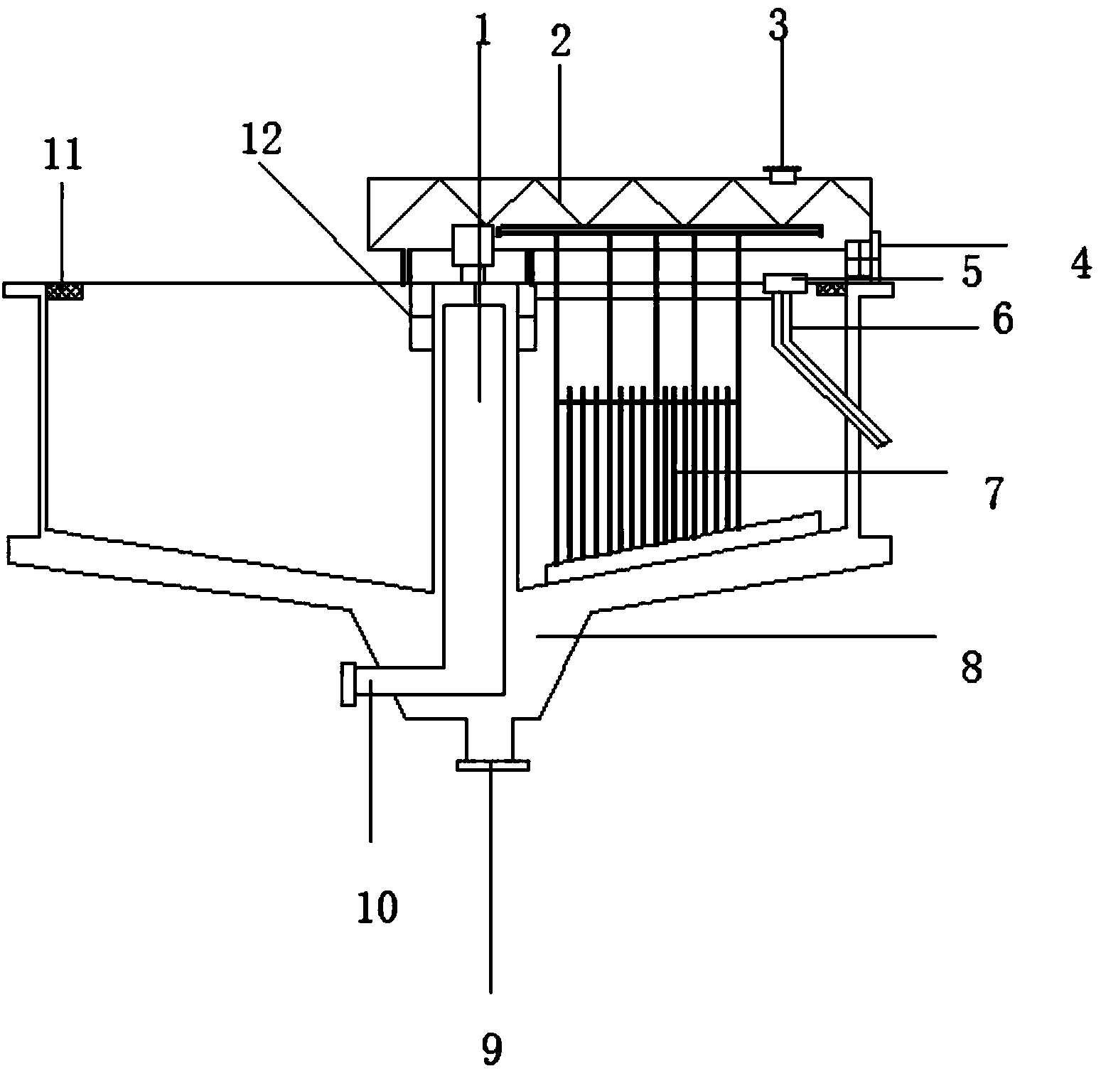
1.一種高效工作的污泥濃縮機,其特征在于:其結構包括中心支座(1)、工作橋(2)、系統控制柜(3)、驅動系統(4)、攤渣機構(5)、出渣管(6)、擋渣板(7)、污泥池(8)、出泥口(9)、進水口(10)、溢流板(11)、穩流筒(12)、支架板(13)、濃縮攪拌柵條(14)、椼架(15)、刮泥板(16),所述中心支座(1)連接著所述穩流筒(12),所述中心支座(1)頂部連接著所述工作橋(2),所述工作橋(2)連接著所述系統控制柜(3),所述工作橋(2)右下角連接著所述驅動系統(4),所述驅動系統(4)連接著所述攤渣機構(5),所述攤渣機構(5)連接著所述出渣管(6),所述中心支座(1)底部連接著所述進水口(10),所述中心支座(1)底部設有所述污泥池(8),所述污泥池(8)連接著所述出泥口(9),所述污泥池(8)左右兩邊的分支連接著所述溢流板(11),所述污泥池(8)連接著所述刮泥板(16),所述刮泥板(16)連接著所述擋渣板(7),所述擋渣板(7)設有所述濃縮攪拌柵條(14),所述濃縮攪拌柵條(14)左右兩邊連接著所述椼架(15),所述椼架(15)連接著所述支架板(13),所述支架板(13)連接著所述工作橋(2)。
2.根據權利要求1所述的一種高效工作的污泥濃縮機,其特征在于:所述穩流筒(12)通過支架連接著所述工作橋(2)。
3.根據權利要求1所述的一種高效工作的污泥濃縮機,其特征在于:所述濃縮攪拌柵條(14)位于所述擋渣板(7)中心位置。
污泥濃縮機,是一種中心傳動式連續或間歇式工作的濃縮和澄清設備。
現有技術公開了申請號為201520519660.0的一種污泥濃縮機,其包括機架,設置于機架上部的并依次連通的進料口、濃縮機構、出料口,以及設置于機架下部的并依次連通的第二進料口、第二濃縮機構、第二出料口;第二濃縮機構包括第二濾帶、纏繞于第二濾帶的第二張緊裝置、第二調偏裝置和第二驅動裝置、設置于第二濾帶下方的若干個第二清洗裝置、以及設置于第二清洗裝置下方的第二濾液接盆。但是沉淀絮凝效果較差,污泥濃縮時間長,不能徹底適應于活性污泥和氣浮污泥及其混合液,對污水的含水情況適應性強弱。
實用新型內容
針對現有技術存在的不足,本實用新型目的是提供一種高效工作的污泥濃縮機,以解決沉淀絮凝效果較差,污泥濃縮時間長,不能徹底適應于活性污泥和氣浮污泥及其混合液,對污水的含水情況適應性強弱的問題。
為了實現上述目的,本實用新型是通過如下的技術方案來實現:一種高效工作的污泥濃縮機,其結構包括中心支座、工作橋、系統控制柜、驅動系統、攤渣機構、出渣管、擋渣板、污泥池、出泥口、進水口、溢流板、穩流筒、支架板、濃縮攪拌柵條、椼架、刮泥板,所述中心支座連接著所述穩流筒,所述中心支座頂部連接著所述工作橋,所述工作橋連接著所述系統控制柜,所述工作橋右下角連接著所述驅動系統,所述驅動系統連接著所述攤渣機構,所述攤渣機構連接著所述出渣管,所述中心支座底部連接著所述進水口,所述中心支座底部設有所述污泥池,所述污泥池連接著所述出泥口,所述污泥池左右兩邊的分支連接著所述溢流板,所述污泥池連接著所述刮泥板,所述刮泥板連接著所述擋渣板,所述擋渣板設有所述濃縮攪拌柵條,所述濃縮攪拌柵條左右兩邊連接著所述椼架,所述椼架連接著所述支架板,所述支架板連接著所述工作橋。
進一步地,所述穩流筒通過支架連接著所述工作橋。
進一步地,所述濃縮攪拌柵條位于所述擋渣板中心位置。
進一步地,所述椼架設置為三短一長結構。
進一步地,所述椼架的短架為長架的一半。
本實用新型的有益效果沉淀絮凝效果好,污泥濃縮時間短,適應于活性污泥和氣浮污泥及其混合液,對污水的含水情況適應性強。

污水處理設備聯系方式:
銷售熱線:010-8022-5898
手機號碼:186-1009-4262





