歡迎訪問北京中天恒遠環保設備有限公司官網!
咨詢熱線:010-8022-5898 手機:18610094262
-
充分利用污水的節水系統 2018-01-20 [行業資訊] 熱度:302

本實用新型公開了一種充分利用污水的節水系統,其技術方案要點是包括蓄水箱和馬桶,每層樓層均設有蓄水箱和馬桶,并且馬桶低于同一樓層的蓄水箱,蓄水箱頂部固定連接有污水管,污水管另一端連接有用于收集污水的污水...
-
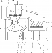
快速高效污泥烘干裝置 2018-01-20 [行業資訊] 熱度:226

本實用新型公開了一種快速高效污泥烘干裝置,包括烘干箱、好氧室、沖洗管、中空粉碎軸和粉碎齒,所述烘干箱上方設有好氧室,所述好氧室一端設有排氣管,所述好氧室下方設有沖洗管,所述烘干箱下方設有分離液管,所述...
-
寶雞市扶風縣百合污水處理廠 2018-01-20 [行業資訊] 熱度:391

寶雞市扶風縣百合污水處理廠于2017年建設,陜西寶雞市扶風縣百合污水處理廠采用較為先進的污水處理工藝卡魯塞爾氧化溝, 其設計規模為2萬立方米/日, 先期日處理規模達到2萬立方米/日,項目投資近1280萬元,工程概況...
-
登封市旅游新城污水處理廠介紹(圖文) 2018-01-20 [行業資訊] 熱度:456

登封市旅游新城污水處理廠于2017年建設,河南登封市旅游新城污水處理廠采用較為先進的污水處理工藝, 其設計規模為5萬立方米/日, 先期日處理規模達到5萬立方米/日,項目投資近8000萬元,登封市旅游新城污水處理廠及...
-
醫療機構污水處理設備介紹(圖文) 2018-01-20 [行業資訊] 熱度:294

本實用新型涉及一種污水處理設備,尤其涉及一種醫療機構污水處理設備。本實用新型要解決的技術問題是提供一種雙向處理的醫療機構污水處理設備。為了解決上述技術問題,本實用新型提供了這樣一種醫療機構污水處理設備...
-
醫院污水處理具體流程和工藝解析(圖文) 2018-01-20 [行業資訊] 熱度:589

醫院污水處理工藝主要是根據醫院的性質,醫院的大小規模,和當地實際情況的處理要求,進行選則的,主要有以下總結。 一、我國醫院污水處理現狀 近年來,隨著醫院污水排放標準的提高,全國部分城市致力于優選較好的污...
-
膜生物反應器分類介紹(圖文) 2018-01-20 [行業資訊] 熱度:276

目前開發出來的膜生物反應器可以分為三類: 膜分離生物反應器(Membrane separation bioreactor);膜分離生物反應器用于污水處理中的固液分離。 膜曝氣生物反應器(Membrane aeration bioreactor)膜曝氣生物反應器中膜...
-
二甲基亞砜廢水處理方法介紹(圖文) 2018-01-20 [行業資訊] 熱度:644

某企業排放的生產廢水中主要特征污染物為二甲基亞砜(DMSO),廢水的可生化性較差(BOD5/COD=0.02),用常規生物法難以直接處理。DMSO廢水的處理方法主要有化學氧化法和生化法。化學氧化法處理成本較高。生化法中,高效...
-
火電廠廢水低溫余熱濃縮系統介紹(圖文) 2018-01-20 [行業資訊] 熱度:453

申請日2016.10.21 公開(公告)日2017.05.03 IPC分類號C02F1/16 摘要 本實用新型屬于火電廠廢水處理技術領域,具體涉及一種火電廠廢水低溫余熱濃縮系統。系統包括除塵器、脫硫吸收塔、廢水收集箱、預處理裝置、廢水預...
-
鉆井廢水處理技術介紹(圖文) 2018-01-20 [行業資訊] 熱度:233

鉆井廢水的組成 廢棄泥漿;起、下鉆作業時泥漿的流失及帶出的巖屑;地面設備及鉆井工具的沖洗水;井場生活污水等。 鉆進廢水的特點 鉆井廢水具有點多、面廣、污染物種類復雜、間歇性排放及不可控排放等特點,成為石油行...
-
撫州市廣昌工業園區污水處理廠(圖文) 2018-01-20 [行業資訊] 熱度:398

撫州市廣昌工業園區污水處理廠于2016年建設,江西撫州市廣昌工業園區污水處理廠采用較為先進的污水處理工藝混凝氣浮+水解酸化+A2O處理工藝, 其設計規模為2萬立方米/日, 先期日處理規模達到.5萬立方米/日,由上海市...
-
安義縣工業園區污水處理廠(圖文) 2018-01-20 [行業資訊] 熱度:359

安義縣工業園區污水處理廠于2014年建設,江西安義縣工業園區污水處理廠采用較為先進的污水處理工藝, 其設計規模為2萬立方米/日, 先期日處理規模達到2萬立方米/日,江西安義工業園區污水處理設施建設地點:南昌市安...
-
丙烯腈生產廢水處理(圖文) 2018-01-20 [行業資訊] 熱度:394

丙烯腈(AN)是一種重要的化工原料,廣泛應用于合成纖維、合成樹脂及合成橡膠等領域。2010 年我國丙烯腈的總產量達到約109 萬t,比2009 年增長約11.8%〔1〕。丙烯腈生產過程中會排放大量廢水,廢水中主要含有丙烯腈、...
-
北京發布十三五重大項目情況,正建10個水項目13個固廢工程(圖文 2018-01-19 [行業資訊] 熱度:418

2017年1月11日,北京市人民政府新聞辦公室聯合市住房城鄉建設委、市重大辦召開北京市實施十三五規劃開局之年工作成果系列新聞發布會之北京市重大項目建設情況新聞發布會。市住房城鄉建設委副主任、新聞發言人王承軍...
-
2014年安恒集團獲得SEI頒發的CMMI 3級認證(圖文) 2018-01-19 [行業資訊] 熱度:337

11月11日消息,近日,安恒集團獲得由卡內基-梅龍軟件工程研究所(Carnegie MellonSoftware Engineering Institute (SEI))授予的軟件能力成熟度(即:CMMI)3級評價證書,這標志著安恒集團既有的整體研發管理與組織能力...
- 首頁
- 上一頁
- 463
- 464
- 465
- 466
- 467
- 468
- 469
- 470
- 471
- 472
- 473
- 下一頁
- 末頁
- 共 526頁7888條
服務地區:北京;天津;上海;重慶;河北;河南;云南;遼寧;黑龍江;湖南;安徽;山東;江蘇;浙江;江西;湖北;廣西;甘肅;山西;陜西;吉林;福建;貴州;廣東;青海;四川;寧夏;海南
服務地區:哈爾濱;長春;沈陽;南京;濟南;合肥;石家莊;鄭州;武漢;長沙;南昌;西安;太原;成都;西寧;海口;廣州;貴陽;杭州;福州;臺北;蘭州;昆明;銀川;烏魯木齊;拉薩;南寧
補充分類:電廠;工業;游泳池;系統;工程;工程師;藥劑;過濾器;絮凝劑;公司;廠家;生產廠家;